Слухи о том, что на возрожденном заводе «Москвич» будут собирать автомобили JAC под другой эмблемой, перестали быть слухами. Обозреватели портала Drom.ru обнаружили в базе данных Росстандарта Одобрения типа транспортного средства (ОТТС) на две первые модели «Москвича» — «Москвич 3» и «Москвич 3e».
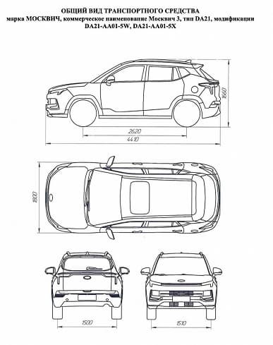
«Москвич 3» — это переименованная версия компактного кроссовера JAC JS4. Напомним, недавно этот автомобиль фигурировал в практически детективной истории: российскую премьеру отменили за несколько часов до ее начала (ходят слухи, что по настоянию КамАЗа), но в продажу такие автомобили все-таки поступили. Позже с сайта JAC исчезли прайс-листы, а сам JS4 вполне себе официально поступил в продажу в Казахстане.
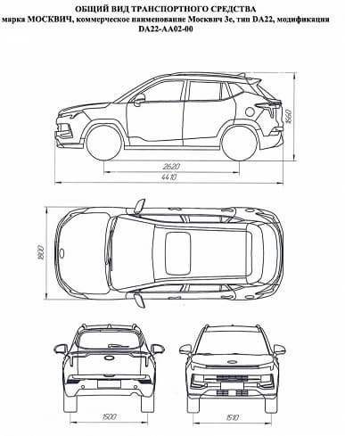
Автомобиль из второго ОТТС называется «Москвич 3е»: это копия JAC iEVs4 — электромобиль на базе JS4.
Размеры у двух моделей одинаковые: длина — 4410 мм, ширина — 1800 мм, высота — 1660 мм, колесная база — 2620 мм. Ширина передней колеи — 1510 мм, задней — 1500 мм. Местом производства в документах значится Московский автозавод «Москвич» (бывший «Renault Россия»), однако заявителем в ОТТС прописан КамАЗ, который выступает куратором проекта.
«Москвич 3» будут выпускать в модификациях с бензиновыми моторами объемом 1,5 л (HFC4GB24D) и 1,6 л (HFC4GB33D). Первый — с турбонаддувом, он развивает 150 л.с. Второй — атмосферный, мощностью109 л.с. Турбомотор сочетается с 6-ступенчатой МКП или бесступенчатым вариатором, «атмосферник» — только с 6-ступенчатой МКП.
«Москвич 3е» оснащен электромотором SY Power TZ200XSIEM1 мощностью 50 кВт (68 л.с.) и тяговой батареей Sinoev 21011S4C4 емкостью 187 А·ч. Запас хода на одном полном заряде — 410 км.
Во всех случаях привод передний, полный не предусмотрен в принципе, поскольку задняя подвеска полузависимого типа, с цельной торсионной балкой. Снаряженная масса бензинового Москвича — 1440 кг, электрического — 1800 кг. Исходя из соотношения масса и мощности становится понятно, что динамика «Москвич 3e» будет как минимум вялой.
«Москвичи» на первом этапе планируется выпускать по крупноузловому методу. Ожидается, что до конца года завод соберет 600 авто, старт производства намечен на декабрь. Ну а производство по полному циклу со сваркой и окраской кузовов намечено 2024 год.
Источник: iXBT



