Свежие слухи указывают на то, что очки Apple с технологиями дополненной и/или виртуальной реальности могут получить линзы, наполненные жидкостью, которые позволят использовать их даже пользователям с плохим зрением.
Такие жидкостные линзы могут деформироваться, предоставляя чёткое изображение в зависимости от особенностей зрения пользователя. Возможность регулировки воспринимаемого фокусного расстояния для пользователя может сделать подобное устройство более удобным по сравнению с существующими очками дополненной и виртуальной реальности.
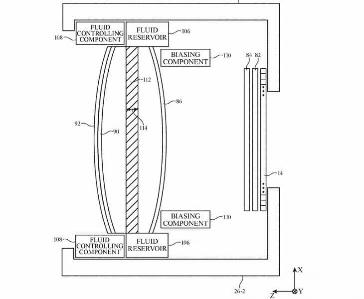
В патенте, который зарегистрировала Apple, под названием «Электронное устройство с настраиваемым объективом» описываются очки с жидкостными линзами. Разработчики утверждают, что проблема подбора правильных для каждого пользователя линз может быть устранена за счет использования новой системы жидкостных линз.
Предположительно, речь идёт о системе, при которой в очках будет центральная камера с жидкостью, окружённая линзами, форма которых будет меняться для изменений из оптических свойств.
Источник: iXBT



