Компания Apple разрабатывает клавиатуру ноутбука MacBook со съёмной клавишей, которую можно будет использовать в качестве компьютерной мыши.
Такая разработка описывается в патенте Apple, зарегистрированном в патентном ведомстве США (U.S. Patent and Trademark Office, USPTO).
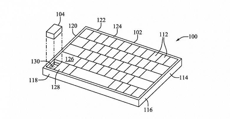
В документации описывается стандартная ножничная клавиатура MacBook со скрытой съемной клавишей. Эта клавиша будет содержать датчик положения. Apple описывает систему как обеспечивающую «удобный, портативный и точный ввод».
В документации поясняется, что для некоторых задач, таких как графический дизайн, компьютерное проектирование и моделирование, а также редактирование больших и сложных документов, больше подходит портативная мышь, а не трекпад. Apple признаёт, что ношение отдельной мыши может быть обременительным и «избыточным» решением.
По словам Apple, подобная съемная клавиша — жизнеспособное решение этой проблемы. В некоторых вариантах описывается клавиша со встроенной батареей, причём она могла бы работать в качестве стандартной кнопки клавиатуры при необходимости.
Конечно же, факт регистрации патента вовсе не указывает на то, что Apple доведёт разработку до коммерческой стадии.
Источник: iXBT




