Компания Apple сейчас готовит к выпуску новое поколение умных часов Apple Watch. Судя по свежему патенту, обнаруженному в базе данных американского патентного ведомства, Apple может сделать часы тоньше, увеличив при этом время автономной работы.
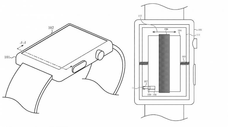
Патент описывает интересную разработку, которая позволит избавится от необходимости в установке отдельного вибромоторчика, который обеспечивает обратную тактильную связь в ответ на действия пользователя. По задумке Apple, батарею можно совместить с блоком обратной тактильной связи.
На данный момент в блоке обратной связи используется специальная металлическая плашка, движение которой и создаёт вибрацию. На место этой плашки можно установить батарею, которая вполне справится с дополнительными функциями. Освободившееся место можно отвести для повышения ёмкости аккумулятора, а также снизить общую толщину гаджета.
Конечно, как это обычно бывает c патентами, нельзя с уверенностью сказать, когда мы увидим эту разработку на полках магазинов.
Источник: iXBT




