Одна из сильных сторон большинства процессоров AMD семейства Ryzen в их конфигурации. Напомним, это многочиповые CPU, состоящие из нескольких чиплетов. Это позволило AMD создать модели с большим количеством ядер, которые при этом достаточно и дёшево производить.
Мы уже слышали о том, что такой подход к созданию GPU может использовать Nvidia в своём поколении Hopper. Теперь же появилась и аналогичная информация относительно AMD.
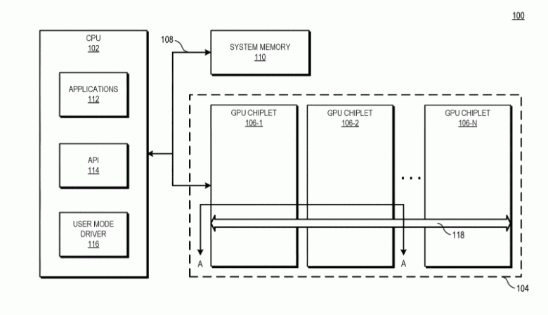
Она доступна в виде патента, название которого можно перевести, как “Чиплеты GPU, использующие высокоскоростные соединения”.
Патент описывает один из вариантов, который позволяет избежать недостатков других технологий объединения GPU. В частности, основа идеи AMD — пассивные шины с высокой пропускной способностью. Подразумевает, что в многочиповом графическом процессоре будет главный кристалл, напрямую связанный с CPU, а остальные кристаллы будут соединены с главным посредством тех самых пассивных шин. В итоге весь такой GPU будет похож на однокристальную систему, физически разделённую на разные микросхемы.
Также в патенте указано, что каждый кристалл GPU сохранит кэш-память последнего уровня, но при этом кэш-память каждого кристалла доступна всему итоговому GPU.
Пока неясно, когда мы сможем увидеть первые многочиповые графические процессоры, но, учитывая, во-первых, сложность современных монолитных GPU, а во-вторых, успех многочиповых CPU Ryzen, вероятно, это один из основных вариантов развития данного направления.
Источник: iXBT


.png)

