Компания Canon недавно подала в японское патентное ведомство заявку, в которой описана интересная принадлежность для камер со сменными объективами. Это телеконвертор с переменным увеличением (1x-2x), оснащенный оптическим стабилизатором изображения и нейтральным фильтром переменной плотности.

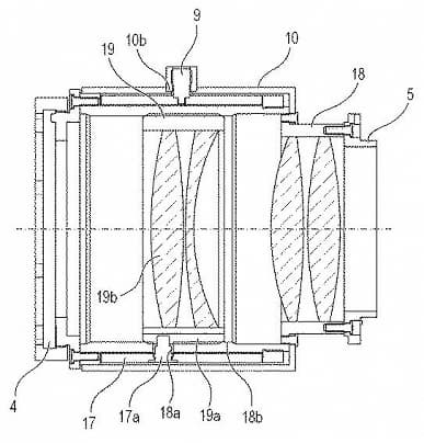
На иллюстрациях к заявке приведена оптическая схема телеконвертора, в которой два из четырех элементов могут перемещаться вдоль оптической оси, что приводит к изменению увеличения. Конструкцией предусмотрена фиксация в положениях, соответствующих увеличению 1x, 1.5x и 2x.



По замыслу Canon, конвертор можно снабдить дисплеем (он обозначен числом 11 на последней иллюстрации), на котором будет отображаться текущее значение увеличения и другая информация о конверторе, камере и объективе.
Что касается совместимых объективов, то одним из уникальных аспектов этого телеконвертора по сравнению с текущими телеконверторами Canon является отсутствие оптических элементов, которые выступают за точки крепления. Если это не условность иллюстраций, то такие объективы, как Canon RF 100–500mm F4.5–7.1 L IS USM, который в настоящее время только частично совместим с телеконверторами Canon RF, теоретически должны будут работать с этим конвертором без ограничений. Впрочем, пока речь идет только о заявке на патент. Будет ли выпущено описанное в ней изделие — пока неизвестно.
Источник: iXBT
_large.png)

